Here’s something a little different to take advantage of our brief respite between Friday the 13th and the Ides of March. Yesterday Marian and I had lunch at Ruby’s, and as usual our utensils came wrapped in a napkin that was held in place by a paper napkin ring. I have helpfully recreated this setup in the picture on the right.
Seems ordinary enough, doesn’t it? But as I unwrapped the silverware I noticed something: a patent notice. This little paper napkin ring, it turned out, was protected by U.S. Patent No. 6,644,498. I was intrigued. What was patentable about this thing? The stickum? It seemed like ordinary Post-It Note type stuff. The size and shape? Couldn’t be. The logo? No.
Luckily, the web knows all. When I got home I pulled up the patent to see what it was for. The answer is below the fold.
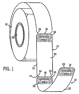
Did you guess? The patent is not for anything to do with the napkin ring itself but for the packaging method: they’re sold on a roll instead of in a box. This is apparently a boon to wait staff and busboys everywhere:
Currently […] Individual paper napkin rings are typically supplied pre-cut into their individual size and stacked one on top of another into a brick of product.
When the ring is to be installed on a napkin surrounding a set of silverware, the napkin ring must be peeled from the stack and formed in its ring shape around the silverware and napkin. Thus, a server must use both hands to peel the paper napkin ring from the stack.
Therefore, a need exists for a new type of napkin ring configuration such that the napkin rings can be sequentially removed from a continuous strip to eliminate the difficulty in removing a napkin ring from the supply stack.
Fascinating, no? Putting things on a roll has been used for decades in such high-tech applications as, oh, postage stamps and carnival tickets, but apparently if you apply this to paper napkin rings it’s patentable. We live in marvelous times, don’t we?













